Pinball Process

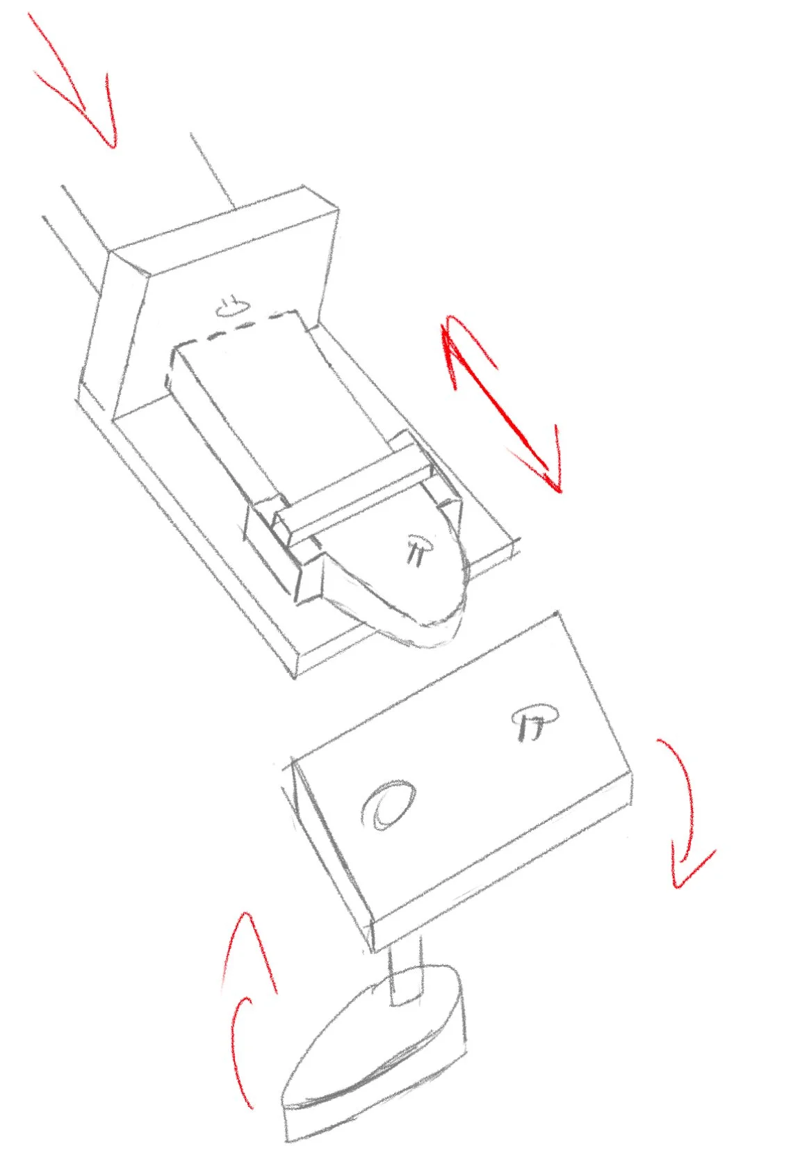
The most important part of this build was making sure I was able to figure out the actual pinball mechanism, which would rotate the pegs when the levers were pushed in. I played around with a lot of different designs, but the main issue was finding how to make the pinball levers push out again after pushing them in. I finally settled on a design after a lot of trial and error, which worked reliably and used rubber bands as a passive way to reset the mechanism after every “push”.